Изолятор ИПТ 20/5000 А

Изолятор ИПТ 20/5000 А
Цена за шт.:
Звоните


Описание и технические характеристики

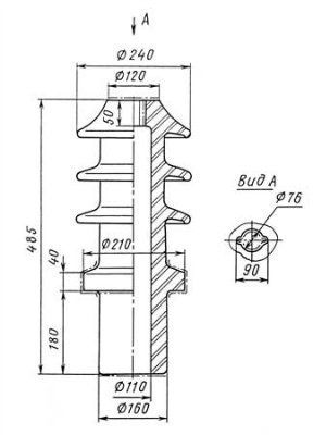
Изоляторы предназначены для работы на открытом воздухе, как в нормальных условиях, так и в районах с загрязненной атмосферой. Особенности конструкции изоляторов (съемных) позволяют заменять их в случае выхода из строя без замены аппарата. Отвечают требованиям ТУ 16-757.032-86. Материал изоляционной части – материал керамический электротехнический подгруппы 110 ГОСТ 20419-83. Покрытие: глазурь неокрашенная прозрачная. По требованию потребителя изоляторы на класс напряжения 10-35 кВ – покрытие: глазурь коричневая.

Здесь можно купить Изолятор ИПТ 20/5000 А в г. Москва за шт.
На Энергопортал.ру представлена 281 позиция изоляторов. Выберите лучшее предложение в нашем каталоге!

Цена действительна до 08.02.2020 г., после чего стоимость необходимо уточнить у поставщика.




ООО "ЭНЕРГОСНАБ"

  • Геннадий Александрович Михайлов
  • Москва
  • ул. Академика Королева 13, офис 811
© ООО "ИнтерМедиа" Полная версия